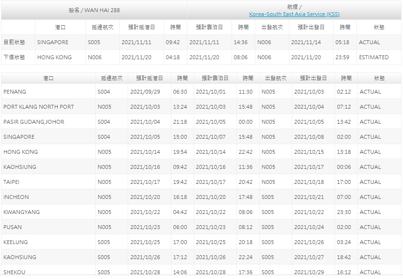
11月17日晚,万海海运旗下一艘名为“WANHAI 288”运力为2038TEU全新的集装箱船在香港附近海域和一艘名为““AMC NAVIGATOR””散货船在航行中相撞,初步消息称“WANHAI 288”轮船首受损严重,船期恐面临严重耽误。
集装箱船WAN HAI 288 (IMO: 9871359)一首建造于2021年崭新的集装箱船。船长175.05米,宽28.59米,悬挂新加坡旗帜。事发时“WAN HAI 288”轮从新加坡前往香港,可能将被送往台湾造船厂修理。据了解,散货船也严重受损。
“WAN HAI 288”是万海航运订造的12艘2038TEU系列货柜船的第5艘“源春轮”于8月4日首航香港,由于近年市场与港口状况多变,万海表示新船将在亚洲区间航线机动调度使用,依循市场需求,为客户提供服务。散货船“AMC NAVIGATOR”,IMO 9291078,载重吨56050,2004年建造,船旗HK,船东AMC INTERNATIONAL(自2021年起)。
集装箱船信息:
WAN HAI 288 (IMO: 9871359) is a Container Ship registered and sailing under the flag of Singapore. Her gross tonnage is 20899 and deadweight is 23400. WAN HAI 288 was built in 2021. WAN HAI 288 length overall (LOA) is 175.05 m, beam is 28.59 m. Her container capacity is 2038 TEU. The ship is operated by WAN HAI LINES LTD.
马士基一艘驶往美西船舶现疑似病例
航行中断!船期延误!
“MAERSK EMDEN”资料图
11月22日晚,MSC官网发布公告表示,收到2M联盟马士基通知,MSK旗下一艘名为“MAERSK EMDEN”运力为13492TEU的集装箱船发现疑似新冠病例,该轮自2021年11月22日起一直停泊在赤湾集装箱码头。船期恐面临延误。
公告称,该轮正在等待当地检疫部门的通知以采取下一步行动。按照标准程序,受影响的船员已被隔离,“MAERSK EMDEN”轮上的其余船员将接受症状检测和监测。
集装箱船MAERSK EMDEN (IMO: 9456769)一首建造于2010年的集装箱船。船长366.47米,宽48.26米,悬挂丹麦旗帜。正常情况下该轮正有蛇口驶往南沙港。
该轮被服务于在2M联盟、森罗商船共舱的美西航线,即MSK(TP2航线)、HAMBURG SÜD(UPAS 2 航线)、MSC(JAGUAR航线)、SML(PS2航线):今年4月份该钟摆航线拆分,不再挂靠新加坡、林查班和上海,变成纯华南直航美西的快线。因为美西港口的持续拥堵,奥克兰也被经常跳港;
集装箱船信息:
MAERSK EMDEN (IMO: 9456769) is a Container Ship registered and sailing under the flag of Denmark. Her gross tonnage is 141716 and deadweight is 148723. MAERSK EMDEN was built in 2010. MAERSK EMDEN length overall (LOA) is 366.47 m, beam is 48.26 m. Her container capacity is 13492 TEU. The ship is operated by MAERSK LINE A/S.

